
Hola hoy a las puertas del fin de semana vamos a empezar con el bolso. Veréis que es muy sencillo, se trata del bolso de panera clásico, que como novedad lleva un bolsillo delantero doble.Pero como de verdad podéis personalizarlo es mezclándolo con otros tejidos como he hecho yo.¿Me seguís en la aventura? Pues vamos allá...

Tengo que contaros que me decidí a hacer el bolso viendo los trozos que iban sobrando al cortar el saco. Entonces pensé que algo había que hacer a juego. ¡Quería aprovecharlos!

Por eso veréis que en mi caso, el saco combina tres tejidos exteriores más el del forro.
Una locura, lo sé, pero para las que me conocéis no os extrañará esta afición por lo que a mi me gusta llamar "la costura de aprovechamiento" Y es que sin llegar a trabajar la técnica del pachtwork, a mi me encanta combinar telas para conseguir prendas o accesorios, para los que de otro modo no me llegaría la tela. Y este caso es un buen ejemplo, es por eso que mi bolso parece tener más piezas, pero en realidad, no son más que las básicas, un poco recortadas y combinadas para poder llegar a ser las que necesita el modelo.

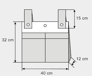
Aquí tenéis las piezas ya cortadas, con las veces que deben repetirse
(en caso de ser necesario).
Si os fijáis la 8 la he dividido en dos (esto ha sido opción personal, que no os lie)
Y en el caso del asa las he cortado de dos tejidos diferentes también, uno para el exterior y otro para el interior.
Si hacéis el bolso del mismo tejido será más fácil, aunque os animo a combinar y experimentar

Estas serán las piezas del forro, que al ser todas de la misma tela, son más fáciles de entender y coser.
Ya veis que en forro no se cortan ni las asas ni el bolsillo, que no va forrado.
IMPORTANTE: Para dar consistencia a la tela, podéis cortar las mismas piezas del forro también en guata

Esta es la pieza trasera con una pieza en la parte central, que me ha permitido aprovechar dos trozos de otro modo inservibles.

Aquí podéis ver las piezas del delantero central (pieza 8) por el revés.
Es importante que una vez unidas las piezas, las planchemos bien
Primero por el revés...

Y planchamos también por el derecho de la pieza, pero cuidado con los brillos.

Un consejo: antes de seguir os recomiendo que remalláis o sobrehiléis las telas, de este modo daremos "más seguridad" a las posteriores costuras.

Después de tener las piezas ya cortadas y sobrehiladas o remalladas, podemos incorporar a cada pieza del bolso que la necesite, su trozo de guata correspondiente.Primero unimos la guata con la pieza sólo con alfileres.

Y después le pasamos un pespunte a cada pieza con su guata por los bordes.
Ahora con las piezas preparadas para ser unidas y formar ya el bolso, nos despedimos.
Recordar que mañana vuelvo con un pequeño tutorial para hacer ojales, para todas aquellas que se os resistan y el lunes seguiremos con este bolso.
Además acabo de terminar un video tutorial para Halloween...
Si queréis podéis pasar verlo.
¡¡Hasta mañana!!
*Recordaros que hoy a las 23,00 h acaba la promoción del patrón y la validez de los patrones de descuento. Si os interesa no lo olvidéis y aprovechad las últimas horas..

Aquí tenéis las piezas ya cortadas, con las veces que deben repetirse
(en caso de ser necesario).
Si os fijáis la 8 la he dividido en dos (esto ha sido opción personal, que no os lie)
Y en el caso del asa las he cortado de dos tejidos diferentes también, uno para el exterior y otro para el interior.
Si hacéis el bolso del mismo tejido será más fácil, aunque os animo a combinar y experimentar

Estas serán las piezas del forro, que al ser todas de la misma tela, son más fáciles de entender y coser.
Ya veis que en forro no se cortan ni las asas ni el bolsillo, que no va forrado.
IMPORTANTE: Para dar consistencia a la tela, podéis cortar las mismas piezas del forro también en guata

Esta es la pieza trasera con una pieza en la parte central, que me ha permitido aprovechar dos trozos de otro modo inservibles.

Aquí podéis ver las piezas del delantero central (pieza 8) por el revés.
Es importante que una vez unidas las piezas, las planchemos bien
Primero por el revés...

Y planchamos también por el derecho de la pieza, pero cuidado con los brillos.

Un consejo: antes de seguir os recomiendo que remalláis o sobrehiléis las telas, de este modo daremos "más seguridad" a las posteriores costuras.

Después de tener las piezas ya cortadas y sobrehiladas o remalladas, podemos incorporar a cada pieza del bolso que la necesite, su trozo de guata correspondiente.Primero unimos la guata con la pieza sólo con alfileres.

Y después le pasamos un pespunte a cada pieza con su guata por los bordes.
Ahora con las piezas preparadas para ser unidas y formar ya el bolso, nos despedimos.
Recordar que mañana vuelvo con un pequeño tutorial para hacer ojales, para todas aquellas que se os resistan y el lunes seguiremos con este bolso.
Además acabo de terminar un video tutorial para Halloween...
Si queréis podéis pasar verlo.
¡¡Hasta mañana!!
*Recordaros que hoy a las 23,00 h acaba la promoción del patrón y la validez de los patrones de descuento. Si os interesa no lo olvidéis y aprovechad las últimas horas..






