El pasado mes de febrero le fue concedida a Google una patente sobre un mecanismo de un dispositivo que combina portátil y Smartphone (al estilo del Motorola Atrix Dock que podemos ver en la foto), se trata de un híbrido, una mezcla explosiva dado la importancia que tienen ambos dispositivos hoy en día.
Ya se rumoreaba por la red algo relacionado con esta patente, es más todo indica que esto es solo el principio de un nuevo tipo de unión entre chromeOS y Android, quien sabe si con el tiempo ambos estarán compenetrados en uno.
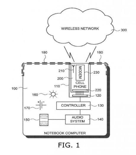
Prácticamente es un portátil convencional capaz de utilizar las conexiones inalámbricas del móvil para así poder conectarse en cualquier momento y lugar a Internet.

Imagen de descargandoloquequires.blogspot.com
Podría usarse el Smartphone como micrófono y auricular en llamadas VOIP por ejemplo e incluso si el terminal está conectado en el cuerpo del Notebook podría utilizarse como amplificador y claro está, como una batería externa. Son muchas las opciones y funciones de las que podría hacerse cargo esta combinación.
Todo esto solo son suposiciones, hay un amplio abanico de posibilidades de la utilización de esta patente, de lo que si estamos seguros es del aparente atractivo de dicha combinación, ya que si Google consigue adecuar y crear una base común entre el portátil y el Smartphone el resultado sería demoledor.
