
Seguimos con los rumores y filtraciones de Nintendo Switch, la nueva consola de la compañía nipona que nos tiene a todos/as con al hype por las nubes. Menos mal que enero ya está cerca porque no podríamos seguir mucho más así.
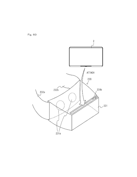
Ayer mismo os dábamos una noticia en la que se filtraba el hecho, mediante una patente, que el sistema tendría pantalla táctil y hoy, de la misma manera, se filtra que el sistema soportaría gafas de realidad virtual.
Dichos accesorios no serían propios de la firma japonesa sino que utilizaría gafas de Samsung, Facebook, Valve y demás. De todos modos esto no está confirmado pero si queréis saber más información, aquí os dejamos el enlace a la fuente.

