El registro de patentes y marcas de los EEUU acaba de conceder a Tesla una patente para un sistema de limpiaparabrisas que elimina el agua y otros residuos con impulsos de rayos láser. El documento asegura que estos rayos están calibrados para no traspasar el parabrisas y no perjudicar a los conductores.
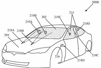
Tesla presentó esta patente hace unos dos años pero aún no ha sido aprobada oficialmente. El documento presentado por la compañía describe un sistema de limpieza para un vehículo que incluye un conjunto de haces de láser, un sistema de detección de residuos y otro de control y configuración de los rayos. El sistema tendrá dos sensores ópticos en el centro del capó que apuntarán hacia el parabrisas y detectarán automáticamente cualquier acumulación de residuos sobre el cristal. Según se puede leer en la propia patente, estos residuos pueden incluir entre otros la nieve, las gotas de agua, la pintura, los excrementos de pájaros, las manchas de bichos, la cáscara de las plantas, los derrames de aceite, la suciedad y el barro.

