Waymo, la empresa de Alphabet (Google) que está desarrollando los vehículos autónomos, presentó recientemente una patente para hacer autos que eviten lesiones haciendo al auto más suave donde se requiere durante un accidente.
La idea es que en caso de que un accidente con un peatón esté por ocurrir, el auto detecte los posibles puntos de contacto y entonce debilite la estructura del auto en la zona requerida, para de cierta manera amortiguar un poco el golpe y reducir el daño.
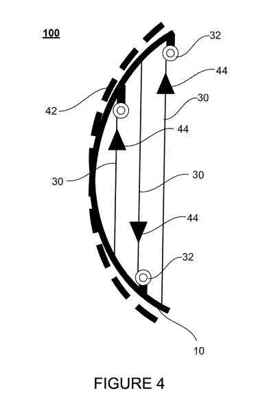
La manera en que esto funcionaría sería poniendo en la carrocería “miembros de tensión” que serían sistemas de cables o pistones, etc. que mantengan la rigidez del auto en condiciones normales, pero en caso de un accidente puedan hacer más “suave” la carrocería reduciendo la tensión.

Esto funcionaría con los sistemas que ya tiene el vehículo autónomo para detectar los objetos alrededor y predecir cuando un accidente es inevitable, si el accidente es con una persona o animal, el auto se puede hacer más suave donde lo requiere, si el accidente es con un auto, es puede mantener igual.
Al momento esto ni siquiera es parte de un prototipo, solo sabemos que existe la patente, pero suena como una buena idea si realmente se puede implementar.
Esta no es la primera idea que Google tiene para proteger peatones, el año pasado también presentaron una patente de lo que sería una carrocería “pegajosa” para que el peatón no saliera disparado en caso de accidente…creo que la carrocería suave tiene más probabilidad de existir ¿no creen?
