
No es la primera vez que hablamos de los sensores curvos, hace años que se sabe que Sony está trabajando en ellos. Pero una de las mayores dificultades, tal y como reconocía la propia marca japonesa, es la fabricación de objetivos zoom para este tipo de captores.
No solo Sony se ha lanzado a la aventura de la investigación de los sensores curvos, Microsoft también cree que pueden ayudar a generar imágenes con menos ruido y disminuirían las aberraciones que se producen en las esquinas de la imagen con los sensores convencionales. Su fabricación e implementación no parece estar muy lejos ya que se han registrado patentes para la construcción de objetivos diseñados para funcionar con ellos.
Sony patenta un objetivo 400mm f/2,8 para un sensor de medio formato curvado
Estas son dos noticias en una. La primera es la que apunta a que, visto lo visto, Sony no ha conseguido superar las dificultades que hacían compleja la fabricación de objetivos con zoom para el tipo de sensor del que venimos hablando y propone objetivos intercambiables de diferentes distancias focales, y otra es que, por lo que se puede inferir del propio objetivo, que esté diseñado para un sensor de medio formato nos hace pensar que existe ya el diseño de un sensor curvo para ese formato.

Que se haya patentado no quiere decir que se vaya a producir, de hecho las empresas suelen patentar muchos inventos que no llegan a ver la luz, pero nos hace pensar que, quizá en un futuro lejano que al ritmo de fabricación de producto nuevo de Sony no debería tardar, se desarrolle una cámara de medio formato sin espejo con sensor curvado.
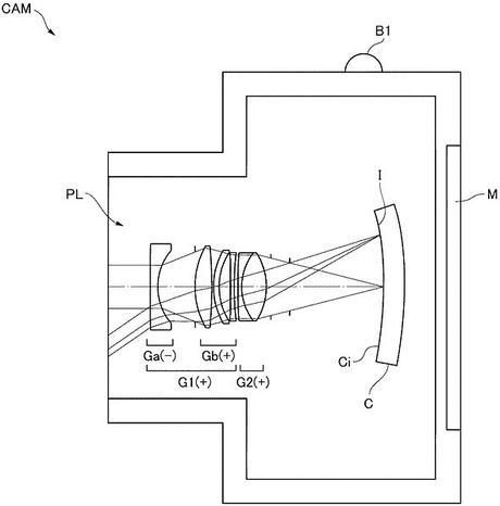
Nikon patenta un objetivo 35mm f/2,0 para cámara con sensor curvado full frame
La verdad es que los datos que aporta la patente de Nikon no dan mucha información sobre el objetivo. No se puede especular tampoco si está diseñado para trabajar en una cámara DSLR o en una mirrorless, per sí nos anuncia que, en esta ocasión, Nikon quiere entrar en el juego de los sensores curvos, no sea que les pase como con las cámaras sin espejo.

Se trata de una focal fija de 35 mm. que, si nos fijamos en el diagrama que acompaña a la patente, parece estar montado en una cámara de manera fija, por lo que cabría especular sobre si Nikon se plantea investigar estas tecnologías en cámaras bridge o compactas.
Si bien es cierto que estas patentes no evidencian una certeza, lo que está claro es que se está trabajando seriamente en ello. Quizá un buen campo de pruebas para esta nueva tecnología puede ser la telefonía móvil
Vía | DPreview
En Xataka Foto | Sensor orgánico de Panasonic: sensibilidad 100 veces mayor a un CMOS convencional
También te recomendamos
Optiz propone una solución que hará posible los objetivos con zoom para sensores curvos
Lograr unas finanzas personales de diez es posible sin saber de economía
Fujifilm GFX 50S, la primera formato medio digital de la compañía ya es oficial
–
La noticia
Ya existen patentes de objetivos diseñados para funcionar en sensores curvos
fue publicada originalmente en
Xataka Foto
por
Chema Sanmoran
.
Vía: Xataka Foto http://ift.tt/2eHbDNq
Archivado en: Fotografía Tagged: cámaras, edición, Fotografía, fotos, imágenes, prensa, reportajes, software, Xataka Foto



