DualSense se muestra por dentro gracias a una patente oficial del mando mostrada.
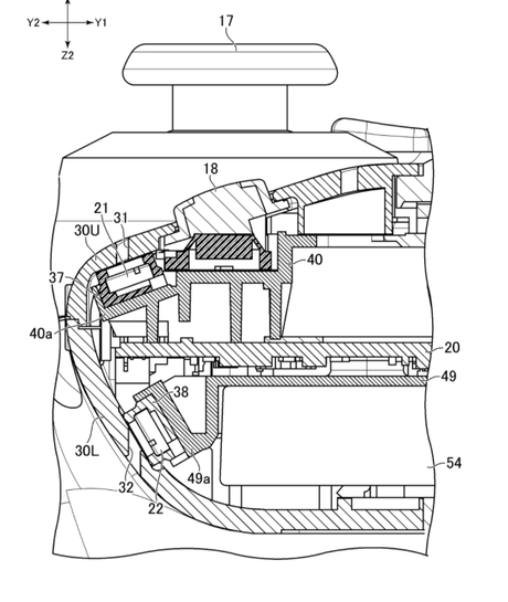
DualSense vuelve a la actualidad del mundo de los videojuegos tras filtrarse parte de sus patentes internas, el esperado y revolucionario mando de PlayStation 5 se ha mostrado en un gran número de imágenes donde hemos podido ver como luce por dentro y algunos de sus componentes principales.
Entre las muchas cosas que se desvelan en estas imágnes del diseño podemos ver mas detenidamente su nuevo altavoz, el botón de encendido o algunos elementos que nos se apreciaban a simple vista en las imágenes que ya conocíamos del periférico de Sony.
Por ejemplo podemos ver el tamaño de la batería interior que parece algo mas grande que la de los actuales mandos de PlayStation 4 o también el sistema de mecanismo de los sticks analógicos del mando entre otras muchas cosas ocultas que hasta el momento desconocíamos.
Si seguimos investigando detenidamente las imágenes también se aprecian algunos nuevos componentes, muy posiblemente que tendrán que ver con el sistema de control haptico, algunos de ellos situados cerca de los sticks analógicos del mando.
En su momento la propia Sony desvelaba que este mando sería revolucionario sobre todo por su conocido sistema Háptico que permitirá sentir por ejemplo detalles como la rugosidad de superficies o la dureza en algunos juegos de conducción por ejemplo. Estas eran algunas de las especificaciones que en su momento Sony explicaba sobre el mando.
Con la PS5, tuvimos una gran oportunidad para innovar al brindar a los desarrolladores de juegos la oportunidad de descubrir cómo podrían mejorar esa sensación de inmersión con nuestro nuevo controlador. Por esta razón, hemos desarrollado retroalimentación háptica que crea una variedad de sensaciones fuertes que sentirás cuando juegues, p. B. la aspereza lenta al conducir a través del barro. También hemos integrado disparadores adaptativos en los botones DualSense L2 y R2 para que realmente puedas sentir la tensión de tus acciones
